在全球环保趋势推动和市场对高品质产品需求增长的背景下,上海岩皇环保科技有限公司凭借卓越技术深耕船舶内外地面、商用办公空间地面、工业地坪、家装墙地面等多领域市场,为终端业主和施工商提供优质聚氨酯产品及服务。
基于对市场的全方位覆盖与深度挖掘,公司建立了全面的注册商标战略布局。商标不仅代表企业核心竞争力,更是连接企业与市场的纽带。公司从市场需求出发,构建了全方位、多层次的注册商标体系。
目前,公司主要商标“YIDUOQI颐朵漆”凭借丰富的弹性聚氨酯产品体系,已成为推动中国弹性聚氨酯应用的重要力量。此外还拥有“舶辉”“金舶辉”“漆尚”“御格瑞枫”“中传嘉仕”“琨逸”“仟古行”“颐朵”“朵颐”“岩皇颐朵”“岩皇华诚湾”“星泓石”“颐小七”等130项已注册商标,共同推动产品在各领域发展。
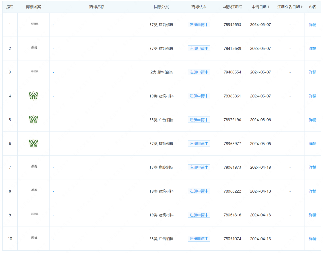
同时,公司还有12项新商标注册申请正在审核中。新商标的加入将完善产品线,提升市场竞争力,为公司持续发展注入新动力。
今年年初,公司通过国家高新技术企业认定,这一殊荣彰显了在产品创新与知识产权保护方面的领先地位,提升了品牌形象与市场竞争力,并将带来更多政策支持和资源倾斜,助力公司持续创新发展。
展望未来,公司将继续以坚定步伐携手各方伙伴,共同开创更加辉煌的未来。
上海岩皇环保科技有限公司
2024年5月














